News information
:2023-03-18 17:19 :90291 : 定安縣空氣凈化消毒機廠家
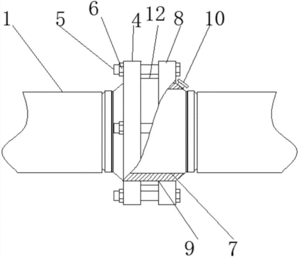
管道電子凈化裝置的支架的結構布置以及形式
管道鋼結構是制成專業管道的支撐結構,其中鋼結構的間距需要根據工藝的資料確定,并且需要滿足管道其他的設備和管道的距離的要求。當管道需要跨越樓層建筑物的時候,支架的間距需要達到一米以上,這種時候需要在支架兩遍設置桁架實現連接跨越。

管道是通過管道,管道連接件和閥門等組成的用于對氣體的輸送以及應用于室內的凈化的一種裝置。在經過鼓風機的增壓后,管道會從高壓流向低壓,管道的安裝通常是使用拼接連接安裝的方法,在安裝的過程中,管道是屬于架空的狀態,所以管道的安裝一般是離不開支架將管道支撐起來的。

所以在一定程度上面,管道也是屬于承壓的一種設備,在管道內部通風的時候,會對其內部產生一定的壓力,所以也不能夠指考慮到管道的支撐結構,還需要考慮到設計的時候,各個部件承重,受壓的大小,這都有相當多的關系,隨著應用技術的不斷進步,對管道的支撐結構的安裝和檢查頻率不斷提高。

部分需要安裝在地底下的管道,在安裝的時候需要將管道放在地下已經鋪好的凹槽下面,再移動到指定的安裝地點,這種安裝方式比起支撐結構的管道更加;浪費時間,不得已一般不推薦這種管道的鋪設方法。并且,安裝在地底下的管道,對管道的外壁檢測也相對麻煩,有遇到什么問題不能夠及時時間發現。
想要了解更多的關于定安縣空氣凈化消毒機的各類知識,可以致電聯系我們,公司會有專門的人員為您講解,希望能夠在之后的來電當中聽到您的聲音,我們靜候您的來電。
公司名稱:東莞市利安達環境科技有限公司
地址:廣東省東莞市東業路黃金小鎮16棟1單元1-4層
電話 :13602318501
網址:http://m.gongjubao.cn
郵箱:730415390@qq.com

contact us
公司:東莞市利安達環境科技有限公司
地址:廣東省東莞市東業路黃金小鎮16棟1單元1-4層
業務:13602318501
售后:13925520851
網址:http://m.gongjubao.cn
郵箱:730415390@qq.com